推薦產品
河南華東起重機械設備公司
服務熱線:400 086 9590
                        公司:河南華東起重機械設備有限公司
                        聯系人:賈經理
                        聯系電話:13903802779
                        地址:河南新鄉市封丘縣起重機工業園區
                        
                    
當前位置: 起重機 > 技術資料 > 起重機百科
HC型自動永磁吸盤HC系列永磁起重器/磁力吊/吸吊器
時間:2024-01-18來源:起重電磁鐵廠家瀏覽次數:1
永磁吸盤介紹
HC型自動永磁吸盤主要型號有:HC-1、HC-2、HC-3、HC-5型,產品的主要用途與特性有:不需要電源,沒有復雜的電控部分,操作極為簡單方便,使用安全可靠,自動循環完成吸、方料動作,能與行車、起重機、汽車起重機等所有起重設備配套使用,既可單臺使用,又可多臺組合吸運大型鋼板、鋼坯和其它型鋼,使用壽命長,維修方便,是一種節約能源的的理想起重設備。
永磁吸盤說明
- 產品名稱:HC型自動永磁吸盤 
- 別名別稱:手動吸盤手動磁鐵永磁吸吊器 
- 型號規格:HC系列型 
- 所屬類別:磁鐵吊具 
- 產品產地:河南新鄉 
- 非標定制:承接非標制造 
- 是否現貨:定制生產 
- 生產周期:7~10天 
- 供貨范圍:全國 
- 送達方式:自提或代辦托運 
- 售后方式:一年保修 
永磁吸盤圖片

永磁吸盤參數
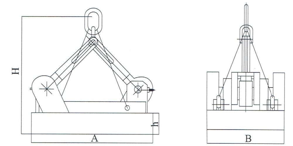
HC型自動永磁吸盤外形尺寸圖

HC型自動永磁吸盤主要技術規格參數表
| 型號 | 額定起重力(kg) | 最大拉托力(kg) | 長度A(mm) | 寬度B(mm) | 底座高度h(mm) | 伸長高度h(mm) | 自重(kg) | 
| HC-1 | 1000 | 3500 | 595 | 435 | 190 | 580 | 230 | 
| HC-2 | 2000 | 7000 | 640 | 580 | 235 | 600 | 320 | 
| HC-3 | 3000 | 10500 | 640 | 610 | 210 | 650 | 400 | 
| HC-5 | 5000 | 17500 | 1140 | 795 | 450 | 1100 | 720 | 
永磁吸盤廠家
HC型自動永磁吸盤的生產廠家提供標準非標自動永磁吸盤的設計制造和安裝維修,更多永磁吸盤貨源產地、型號規格、技術參數、產品特性、結構圖紙、出廠價格以及常見問題故障、產品優點缺點等請參照產品說明書或聯系客服咨詢。
- 
                            152024-05 起重機械吊具,吊鉤的維護、起重機永磁吸盤的應用原理及特點起重機械吊具,吊鉤的維護吊具是起重機械中吊取重物的設備。吊取成件物品zui常用的吊具是吊鉤,其他還有吊環、起重吸盤、夾鉗和貨叉等。起重吸盤、夾鉗和貨叉等可在起重機上作為專用吊具耐久運用,吊具也可作為可溝通的輔佐吊具掛在吊鉤上暫時運用,常用于多貨種倉庫和堆場,以跋涉作業功率。抓取散狀物料的吊具一般為顎板可開閉的抓斗,也可用電磁吸盤引起如金屬切屑等導磁性物料。吊具吊取流動性物料的吊具常用的有盛桶和吊罐...詳細 
- 
                            242024-01 JG型永磁吸盤JG磁力吊JG系列永磁起重器JG永磁吸吊器永磁吸盤選型:JG-400KG, JG-600KG, JG-1000KG, JG-2000KG, JG-3000KG, JG-5000KG, 手柄永磁吸盤產品介紹:永磁起重器概述采用高性能磁性材料,吸力大,體積小,自重輕,操作方便。無需電源,是一種節約能源的理想吊具 。永磁吸盤永磁起重器又稱永磁吸吊器、永磁吸盤、磁力吊、磁性起重器、起重磁鐵、起重永磁鐵、永磁磁鐵等。具有體積小、吸持力更強,不用電,...詳細 
- 
                            242024-01 PML型永磁起重器PML工業磁鐵吸盤PML系列磁力吊PML永磁吸盤永磁起重器選型: PML-100(100KG), PML-200(200KG), PML-300(300KG), PML-400(400KG), PML-600(600KG), PML-1000(1000KG), PML-2000(2000KG), PML-3000(3000KG)永磁起重器產品介紹:永磁起重器概述采用高性能磁性材料,吸力大,體積小,自重輕,操作方便。無需電源,是一種節約能源的理想...詳細 
- 
                            182024-01 HD系列永磁吸盤HD型手動吸盤/手動磁鐵/永磁吸吊器永磁吸盤介紹 HD型手動永磁吸盤型號有:HD-4、HD-6、HD-10、HD-15、HD-20、HD-30、HD-50、HD-100等型號,采用高性能NO-Fe-B磁性磁性材料,使這體積更小,自重更輕、吸持力強。獨特磁路設計,剩余幾乎為零。安全系數高,最大接脫力是額定起重力的3.5倍,手柄開關附有安全鈕,可單手操作,方便安全。起重器底面型槽設計,可起吊相對應的圓鋼、鋼板。不用電,磁力恒...詳細 
- 
                            182024-01 HC型自動永磁吸盤HC系列永磁起重器/磁力吊/吸吊器永磁吸盤介紹HC型自動永磁吸盤主要型號有:HC-1、HC-2、HC-3、HC-5型,產品的主要用途與特性有:不需要電源,沒有復雜的電控部分,操作極為簡單方便,使用安全可靠,自動循環完成吸、方料動作,能與行車、起重機、汽車起重機等所有起重設備配套使用,既可單臺使用,又可多臺組合吸運大型鋼板、鋼坯和其它型鋼,使用壽命長,維修方便,是一種節約能源的的理想起重設備。永磁吸盤說明產品名稱:HC型自動永磁吸盤...詳細 
- 
                            272022-03 YX1系列永磁吸盤|YX1型永磁吸盤技術參數YX1系列永磁吸盤|YX1型永磁吸盤 YX1系列永磁吸盤技術參數|YX1型永磁吸盤技術參數 規格型號 額定起重力 (KG) 外形尺寸 最大 拉脫力 重量 塊狀 工件 圓柱 工件 L B H R YX1-100 100 45 94 72 76...詳細 




 
    














 
                
